Skip to main content
Go to the home page of the European Commission (opens in new window)
English English
CORDIS - EU research results
CORDIS

Ultra-low Power Digital circuits for Wireless Medical Implants

Periodic Reporting for period 1 - UPDWMI (Ultra-low Power Digital circuits for Wireless Medical Implants)

Reporting period: 2018-06-15 to 2020-06-14

Implantable electronic chips are often used for sensing from nerve cells and internal organs for neuro scientific and therapeutic use [1][2][3]. These devices have the potential to improve quality of life of patients by providing continuous ambulatory monitoring of various bio-potential/biochemical signals and also provide necessary interventions (electrical stimulation, drug delivery etc.)[4]. Such implants are considered to be the future of medicine where more effective and precision interventions are necessary. Various implantable electrical devices are in the market for decades, such as heart pacemaker, cochlear implant and deep-brain stimulators stents[5][6].These large battery-operated devices mostly have a single setting with no user feedback. However, medical electronics of the future are expected to have bidirectional interface to the nervous system or organs. They will be ultra-small in size and with advanced closed loop-functionality. Peripheral nerve interfaces for chronic ailments (migraine, back-pain etc.), smart coronary stents or miniaturized cancer monitoring devices are examples of such technology[7].
Researchers in advanced implantable devices use various kinds of wireless technology (RF, ultrasonic or optical) to supply power and provide communication. All these methods have their own problems but none can guarantee a stable amount of power inside the human body. Hence, the implanted electronics should not only consume very low power but should also work at low supply voltage[8][9]. The requirements imposed on medical devices operating in the body are application specific and various constraints determines the available power, signal bandwidth, operating time, and communication range of the wireless telemetry link [10]. Furthermore, these extremely small implants (often in hundreds of micron size) and with no external components, have severe size restrictions. Although major advances have been achieved in the field of wireless communications from such implants, these circuit blocks remain as one of the most power-hungry ones. Data compression is another extremely critical block that has to make a trade-off between the transmission bandwidth and local power consumption, thus determining the overall power budget of the implant. The primary aim of the proposed project is to develop custom, novel ultra-low power digital cells for efficient signal processing (including data compression) and communication circuits for miniature wireless medical implant. This will be achieved through four main objectives:
O1: Propose suitable ultra-low power digital cells (memory and gates) and optimize their size.
O2: Implement relevant digital signal processing and communication blocks using the novel ultra-low power digital cells with optimized performance parameters.
O3: Fabricate, test and characterize the proposed communication and signal processing circuits.
O4:Incorporate the proposed circuit blocks within a complete wireless implanted sensor IC, (including analog data acquisition and RF transmission) and verify in saline measurements.
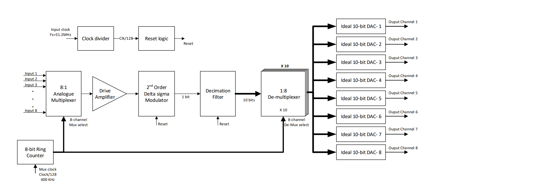
Throughout this fellowship, several design strategies are carried out to make the overall IADC suitable for bio-medical applications. In this project, 2nd order DT IADC have implemented. The proposed Chip rev.1 is taped out at 180nm technology.
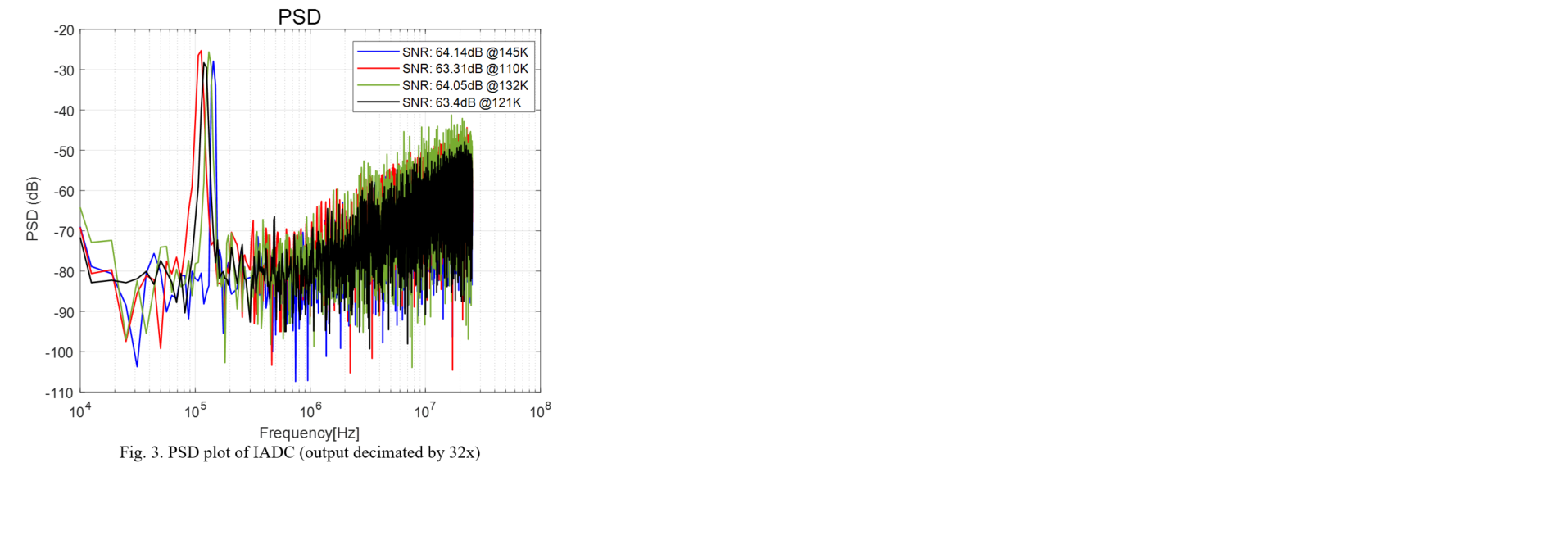
The implemented IADC performs well with an especially favourable power consumption and chip area. Measurement results reveal that the SNR, DR, ENOB, power consumption and chip area at a bandwidth of 200 kHz, an OSR of 128, a sampling rate of 51.2 MHz, and a supply voltage of 1.8 V, are 64.36 dB, 62.2 dB, 10.11 bits, 0.832 mW, and 0.032 mm2 respectively.


The proposed modulator has high-resolution, multichannel A/D conversion suitable for the next generation neural recording systems, in which the high-density multi-electrode arrays (MEAs) act as neural interfaces to deliver low intensity electrical impulses of nerve structure. The proposed IADC has good resolution along with latest area and power requirements of the future medical devices.
The main work of this two-year fellowship research programme is focused on biomedical engineering, the application of engineering techniques to understand, repair, replace, enhance, or otherwise exploit the properties of implantable medical devices. At the end of this fellowship, the novel architecture for IADC has been proposed and implemented with optimized parameters. This IADC is one of most significant modules that affects the overall power and area of fully integrated wireless communication and signal processing circuits used in medical implants.
Thus, this research programme has given a substantial improvement and step change over the state-of-the-art. The proposed IADC may now been used in fully-integrated wireless implanted sensor IC which optimized the overall performance of currently used medical implants to diagnostics and evaluation of various deceases and disorders.
PSD plot for IADC
IADC architectural block diagram
8-Channel IADC inputs and outputs
IADC die photograph
My booklet 0 0